發布時間:2021-08-26
掘金物聯網市場,嗅探智慧商機,就在這次的深圳國際物聯網展會啦!IOTE 2021第十六屆國際物聯網展·深圳站將于2021年10月23-25日在深圳會展中心(福田)開展,這是一場物聯網行業的嘉年華,也是物聯網企業掌握先機的高端盛會!
屆時,上海復旦微電子集團股份有限公司(簡稱:復旦微電子)將以參展商(展位號:1A15)身份為我們帶來多款安全與識別芯片的精彩展示。

上海復旦微電子集團股份有限公司
展位號:1A15
深圳會展中心(福田)
2021年8月18-20日
企業簡介
上海復旦微電子集團股份有限公司(“復旦微電”,上交所科創板證券代碼:688385.SH;“上海復旦”,港交所股份代號:01385.HK)是國內從事超大規模集成電路的設計、開發、生產(測試)和提供系統解決方案的專業公司。公司于1998年7月創辦,并于2000年在香港上市,2014年轉香港主板,2021年登陸上交所科創板,形成“A+H”資本格局,是國內成立最早、首家上市的股份制集成電路設計企業。
復旦微電子集團現已形成安全與識別、智能電表、非揮發存儲器、智能電器、可編程器件FPGA五大成熟的產品線和系統解決方案,產品行銷30多個國家和地區。安全與識別產品被廣泛應用在金融、社保、城市公共交通、電子證照、移動支付、防偽溯源等領域,占據市場主要份額。在國家網絡與信息安全的戰略實施中,復旦微電子集團整合自身科研力量,在安全加密和信息數據處理等方面不斷創新,取得新成果。智能電表方面,公司結合國家智能電網建設戰略和物聯網發展趨勢,開發具有自主知識產權的核心MCU控制芯片,打破長期以來的國外壟斷。非揮發存儲器芯片產品線全面覆蓋EEPROM、FLASH存儲器系列,EEPROM市場份額居國內第一,高可靠特性FLASH存儲器獨具特色。智能電器方面,專用模擬電路中漏電保護芯片種類齊全、性能優越,是國內最具優勢的供應商。從上世紀90年代至今,復旦微電子已開發了6代FPGA產品,承接了多項FPGA重大專項項目,形成了技術精湛的FPGA研發團隊,突破了大規模FPGA產品的軟硬件關鍵技術。復旦微電子集團目前已成功推出大規模的千萬門級、億門級2個系列FPGA產品。千萬門級FPGA產品可廣泛應用于通信、圖像、工控等領域。億門級FPGA不僅可編程資源密度提高,而且集成了SERDES、DDR3等高速接口模塊,是高速通信、圖像處理、人工智能、物聯網和大數據計算等應用場景的核心器件。
復旦微電子集團是上海市著名商標企業、高新技術標桿企業和知識產權示范企業,也是國家認定的博士后工作站企業和國家規劃布局的集成電路企業,是國際特殊奧林匹克運動會指定技術贊助商,是《福布斯亞洲》雜志編輯評選的“最佳中小上市企業”。
特色產品推介
雙界面NFC TAG及通道芯片
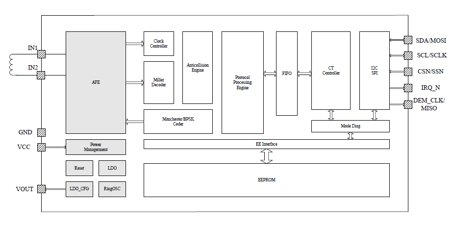
FM11NT08XX系列是符合ISO/IEC14443 Type A協議和NFC Forum Type2 Tag標準,并帶有I2C或SPI接口的雙界面NFC 標簽芯片。通道芯片是RFID產品線的一個產品系列,該系列芯片的功能是為現有的MCU系統提供一個非接觸的通信通道,MCU可通過此通道,與讀寫器之間進行即時或非即時的數據交換。即時的數據交換通過芯片內置的FIFO完成,非即時的數據交換通過芯片內置的高可靠EEPROM完成。通道芯片按照非接觸接口又分為高頻近場通信芯片和超高頻遠距離通信芯片。
高頻邏輯加密卡芯片
高頻邏輯加密卡芯片是RFID產品線的一個產品系列,該系列產品基于ISO14443協議,針對非接觸近場應用。多年來已形成具有多種容量規格的系列產品。依托自主研發的具有優良兼容性的射頻模擬技術、高可靠的存儲技術,此系列產品已發展成為“明星”產品,在市場上取得了較大的份額。

雙頻三界面測溫標簽芯片FM13DT160
FM13DT160是一款具有測溫功能的RFID標簽芯片,具有接觸和非接觸兩個界面共三個接口,接觸界面采用I2C協議接口,非接觸界面支持高頻和超高頻兩個射頻接口,高頻接口可選擇ISO14443或ISO15693標準,超高頻接口支持EPC Global C1G2及ISO18000-6C標準。
復旦微電子集團以國家戰略為引導,以自主核心技術為依托,以互聯網、數字化和智能化應用為牽引,以全面綜合、自主可控為核心優勢,致力于為全球用戶的智能品質生活提供“芯”保障。“專芯成就未來”,復旦微電子集團愿與合作伙伴和最終用戶一起,共同成就美好明天!欲知更多有關復旦微電子的集成電路與系統解決方案,歡迎大家親臨深圳會展中心(福田)展臺號1A15。
2024圓滿落幕,全面解讀,AGIC通用人工智能和IOTE 2024 深圳物聯網展的展后報告!
會議回顧 | AI引領畜牧未來-數智賦能畜牧產業創新發展峰會在深圳成功召開
并行科技邀您共聚2024AGIC深圳(國際)通用人工智能產業博覽會
領馭科技將亮相AGIC深圳(國際)通用人工智能產業博覽會,“瀚鵬AI”打造企業新質生產力
【IOTE】專注大中功率RFID讀寫器的推廣—上海舜識將亮相IOTE國際物聯網展
【IOTE】RFID智能硬件識別解決方案商—瑞弗艾迪將亮相IOTE國際物聯網展
【IOTE】國內定制化物聯設備與特種電子標簽先驅品牌——鼎界物聯將亮相IOTE國際物聯網展
【IOTE】物聯網應用專家—羅維尼科技將亮相IOTE國際物聯網展
【IOTE】平頭哥邀你相聚2024IOTE國際物聯網展·深圳站
【IOTE】以位置服務為中心的物聯網芯片及解決方案供應商—芯與物將亮相IOTE國際物聯網展